2023-9-14 鶴鶴
表格的設計,雖然看似簡單,但是作為用戶最常用的組件之一,我們需要對視覺和交互的精準把握,才能保證用戶在使用表格時更加高效表格被公認是展現結構化數據最為清晰、高效的形式。常和按鈕、搜索、篩選、分頁等其他元素一起協同,構成表格頁。表格的設計,雖然看似簡單,但是作為用戶最常用的組件之一,我們需要對視覺和交互的精準把握,才能保證用戶在使用表格時更加高效。
設計背景與目標
探索過程
說完表格的組成,接下來,我會對每一個部分進行分解,探討表格設計要點。
優點:只要有相關的內容都會被檢索出來,減少了精準搜索帶來的記憶負擔
缺點:容易把相關的信息也帶出來,例如檢索手機號,把相關編碼也匹配出來
下拉篩選
下拉篩選就是將需要篩選的內容放置于選擇器當中,通過點擊選擇器下拉,來選擇需要篩選的內容。
優點:空間利用率高,起到了很好的收納作用
缺點:無法直觀看到所有的篩選項
平鋪篩選
平鋪篩選就是將篩選項的內容,直接展示于頁面之上,通過點擊選擇的方式直接進行篩選。或者可以通過自定義內容的篩選。
優點:操作效率高,篩選項一目了然,支持輸入更多篩選條件
缺點:空間利用率低,不適合選項太多的情況
子表格 - 嵌套關系
當一條主數據下有多條數據結構不同的關聯數據進行嵌套時,這時候就可以用子表格進行創建。它能夠對主數據進行更加細致的解釋,詳細的了解主數據中數據的含義。從表象上看,就是在一個表格中還能嵌套另一個表格。比如在對某集團對旗下子公司的銷售表格中,它能夠通過嵌套子表格的形式,將每一個子公司下的銷售人員的銷售記錄進行記錄,從而能夠更加細致的了解到每一個公司、每一個人員的具體情況。在國外報表中,這類表格很少出現,而在中國的報表中,嵌套子表格算是一種不折不扣的中國式報表。當然這里我們依舊可以深入理解,比如在兩個表格之間,用戶是通過什么樣的方式建立一個父子的關系?表格中當父數據刪除時,子數據如何處理?設計上對父子之間的關聯有著何種限制,這都是我們需要思考的,因為這里牽涉到業務實在太多,我也無法抽象出一個規律供大家學習,因此只有具體問題具體分析。
交叉表格/表頭分組 - 兩條數據在形式上有交叉
當一個表格里面有多條數據在同一個小范圍的維度進行展示時,它就是交叉表格。從表象上看,就是表頭有很多分組進行區分,因此它也叫做表頭分組。它能夠通過硬拆分將數據進行切割,但是這樣數據的易讀性就是有很大的差距,比如在2010-2020公司年度收支表格中,需要同時展示每一年份的收入、支出與利潤,使用交叉報表能夠讓用戶一眼就是看清數據,而基礎表格卻不行。交叉表格也算是中國式表格中的一種,能夠滿足具體業務上的需求。
添加字段說明
當字段名稱過長,又必須展示,才能有效的理解字段含義時。我們可以定義一個專有名詞代替,并且在字段名稱后使用添加字段說明的形式,來對字段加以說明。這樣一來用戶既可以清晰的理解字段含義,又可以在有限的頁面空間下獲取到更多的數據信息。
減少不必要的顏色區分
表格設計中一定不要使用過多的顏色區做狀態或操作的區分,過多的顏色細分會使表格變得更加混亂,影響用戶體驗。對狀態的區分,僅用輕量的顏色區分即可,操作欄保持主色按鈕色。
單元格高度
在開發同學的眼中,單元格高度=內容高度+上間距+下間距,在實現設計稿時,通常也是按照這個方式來寫的,而不是像設計同學一樣按照文字的尺寸來計算間距。其中,文字行高建議設為字號的1.5倍,上下間距設為字號的1.2倍。
收起低頻操作
合適的列間距
合適的填充和邊距對于視覺設計至關重要,以保證易讀性。定義列的間距時,我通常的做法是N1保持不變,將N2定義一個最小值,N2再根據表格的寬度自適應變化。表格主要適配到這個最小寬度,這一步驟通常的設計系統的初期就要完成,一方面可根據自己項目目前情況,按照導航寬度等固定尺寸確定最小的表格寬度,這樣在處理最小尺寸時,可以有一個明確的邊界,同時能與開發同學進行理解溝通。當表格寬度大于頁面寬度,固定首尾列,左右滑動。
控制列數
基于對實際業務需求、目標用戶訴求及其行為的理解,列數盡量控制在7±2,列舉用戶更為關注的數據,用戶需要的非重點、輔助性信息可以在詳情中展示。
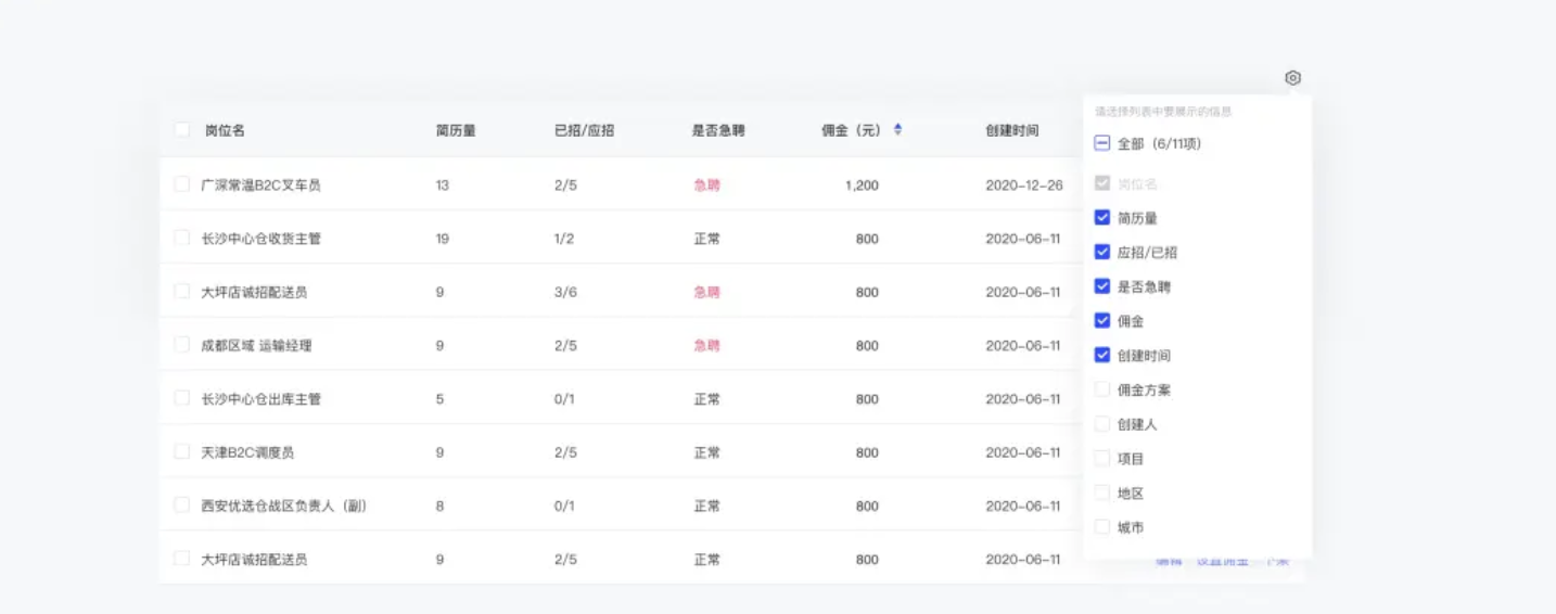
自定義列
如果不同用戶想看到的信息側重不同,可以讓用戶自定義列的展示。在默認情況下僅展示最常用、最重要的幾個指標(如下圖)。這樣做的好處是:首先,用戶能在表格上方看到所有的指標名稱,避免了原來需要橫向拖拽才能瀏覽到所有指標的情況;其次,用戶可以根據自己的需要,自由的選擇顯示所需指標,隱藏不必要指標,減少干擾。但需注意系統應記住用戶上一次的自定義列設置,減少用戶重復操作。
合適的對齊方式
合適的對齊方式能夠提升數據的瀏覽效率。表格內信息的縱向列對齊(符合格式塔心理學中相近原則)能夠很好的形成視覺引導線。通過對齊,會讓表格更加規范易理解,給用戶視覺上的統一感,視線流動更順暢,讓用戶快速的捕捉到所需內容。
文本左對齊:更高效的閱讀瀏覽順序,包括非比較型和固定長度的數字,如日期2020-12-04(補0是數字書寫規范)、編號1948696等;
數值右對齊:金額、長度、高度等,數字是從右往左讀的,通過數值位數的長短即可對比數值的量級和大小,方便數值的比對。這是因為在對比數字時,首先看個位,然后十位、百位等;
操作右對齊:操作即使沒有縱向分割線也能很好的起到分隔的作用,視覺上看表格是一個方方正正的格子,比較整齊
對表單頁的模塊,布局進行一些場景提取,通過對基礎組件的內容拼接形成區塊化高級組件,表格組件化,實現自適應、可填充,提高組內協作。
自適應
可填充
組建易用性考慮
組件的命名就是為了方便切換
字體顏色替換
7.不足
作者:cheny米魚
鏈接:https://www.zcool.com.cn/article/ZMTU4MDI5Mg==.html
來源:站酷
著作權歸作者所有。商業轉載請聯系作者獲得授權,非商業轉載請注明出處。
藍藍設計建立了UI設計分享群,每天會分享國內外的一些優秀設計,如果有興趣的話,可以進入一起成長學習,請加藍小助,微信號:ben_lanlan,報下信息,藍小助會請您入群。歡迎您加入噢~希望得到建議咨詢、商務合作,也請與我們聯系01063334945
分享此文一切功德,皆悉回向給文章原作者及眾讀者.
免責聲明:藍藍設計尊重原作者,文章的版權歸原作者。如涉及版權問題,請及時與我們取得聯系,我們立即更正或刪除。
藍藍設計( www.jjddy.com )是一家專注而深入的界面設計公司,為期望卓越的國內外企業提供卓越的UI界面設計、BS界面設計 、 cs界面設計 、 ipad界面設計 、 包裝設計 、 圖標定制 、 用戶體驗 、交互設計、 網站建設 、平面設計服務、UI設計公司、界面設計公司、UI設計服務公司、數據可視化設計公司、UI交互設計公司、高端網站設計公司、UI咨詢、用戶體驗公司、軟件界面設計公司